+ Lisa oma töö      

Otsid ehitajat "Projekteerimine" valdkonnast?

Parima pakkumise ja teostaja leidmiseks lisa oma töö.

PROJEKTEERIMINE KORTERIS

ID 65702

507 vaatamist

Prindi

  • check Pakkumiste tegemine
    kuni 29.09.2021
  • check Võitja valik kuni
    06.10.2021
  • 3 Töö teostamine
    ja hinnang
Hanke lõpp: K, 29. september, 2021
Maakond: Ida-Virumaa
Linn: Kohtla-Järve
Tööde algus: E, 27. september, 2021 (Soovituslik)
Tööde lõpp: P, 31. oktoober, 2021 (Soovituslik)
Ehitusmaterjalid: Töö tellija poolt
Soovin pakkumisi: Summa kogu projektile

Töö sisu

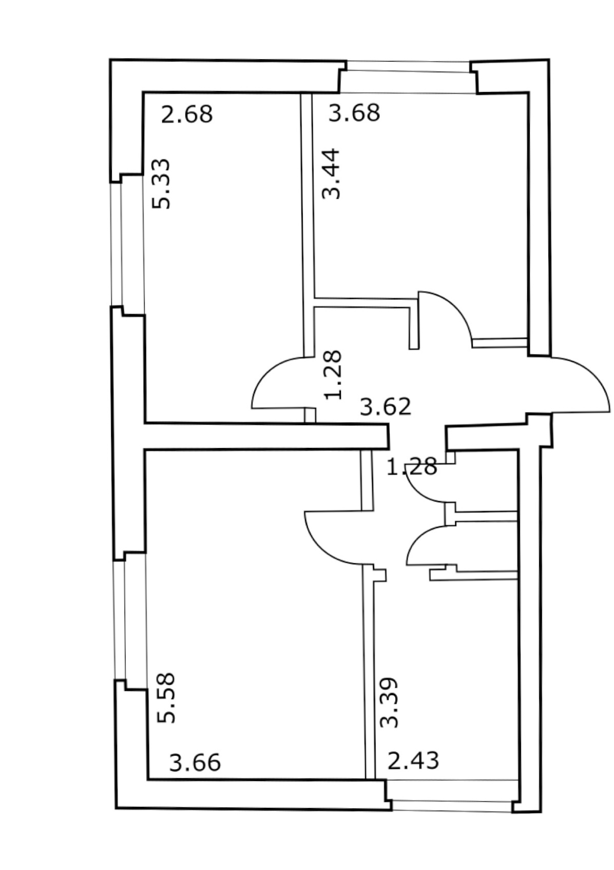
Otsin projekteerijat, kes kirjutaks projekti 3-toalise umbes 67 ruuduse korteri wc-vannitoa seinte lammutamisele ja ukseavade sulgemisele. Ja lisaks 3m sein mittekandva seina lammutamine.

Lisan joonisel koos mõõtudega milline on korteriplaan praegu ja milliseks vaja teha.

Pildid, video ja failid

Hanke korraldaja: eraisik ID65067

Pakkumised

Pakkumisi kokku: 1

Ettevõte Summa Käibemaks Lisatud Vestlus
Kasutaja ikoon ID42152
Pakkuja profiil Väike nool paremale
350€ Ei ole KMKR Ei ole KMKR 27.09.2021 Vestlus (4)

Pakkumise kirjeldus:

Ehitusprojekt eelprojekti staadiumis (arh-eh osa koos eriosadega)
Pakkumishind sisaldab:
Seletuskiri
Asendiskeem (Maa-ameti ortofotol)
Korruse plaan
Avatäidete joonised

Kooskõlastused ehitusteatise registreerimiseks
Ehitusteatise esitamine KOV
Ehitusteatise registreerimine KOV

Riigilõivuvaba

Küsimused hanke korraldajale

Hanke korraldajale ei ole veel küsimusi esitatud.

Lisa küsimus

Lisa küsimus

Minu pakkumine

Reeglid

Pakkumise kirjelduse väli on mõeldud pakkumise detailsemaks lahti kirjutamiseks. Pikema teksti mugavaks sisestamiseks klikkige kasti paremal ülaservas oleval ikoonil.
Pakkumist tehes on keelatud postitada enda kontaktandmeid (nimi, telefon, aadress jne). Me jälgime ja analüüsime pakkumisi, et vältida pettuseid ja reeglite rikkumisi.
Rikkumise puhul kasutajakonto blokeeritakse.

 

Teisi töid samas valdkonnas

Valdkonnas "Projekteerimine" on 7 aktiivset tööd

no-img Pilt puudub

1-kordse 120 m2 elumaja põhiprojekt

Asukoht: Harjumaa, Metsanurme
Aega jäänud: 8p 10h
Tehtud pakkumisi: 4

no-img Pilt puudub

Saunamaja eelprojekt ehitusteatiseks

Asukoht: Lääne-Virumaa
Aega jäänud: 1p 10h
Tehtud pakkumisi: 3

Vanemad teated:

Vaata kõiki

Sellel veebilehel kasutatakse küpsiseid. Kasutamist jätkates nõustute küpsiste kasutamisega.

Sulge
 
Minu pakkumine

Reeglid

Pakkumise kirjelduse väli on mõeldud pakkumise detailsemaks lahti kirjutamiseks. Pikema teksti mugavaks sisestamiseks klikkige kasti paremal ülaservas oleval ikoonil.
Pakkumist tehes on keelatud postitada enda kontaktandmeid (nimi, telefon, aadress jne). Me jälgime ja analüüsime pakkumisi, et vältida pettuseid ja reeglite rikkumisi.
Rikkumise puhul kasutajakonto blokeeritakse.