+ Lisa oma töö      

Otsid ehitajat "Fassaaditööd" valdkonnast?

Parima pakkumise ja teostaja leidmiseks lisa oma töö.

Palkseinte peale karkass, villaga soojustamine, laudis

ID 90655

913 vaatamist

Prindi

  • check Pakkumiste tegemine
    kuni 12.03.2024
  • check Võitja valik kuni
    19.03.2024
  • 3 Töö teostamine
    ja hinnang
Hanke lõpp: T, 12. märts, 2024
Maakond: Lääne-Virumaa
Muu asula: Mustoja
Tööde algus: R, 10. mai, 2024 (Kohustuslik)
Tööde lõpp: R, 14. juuni, 2024
Ehitusmaterjalid: Töö tegija poolt
Soovin pakkumisi: Summa kogu projektile

Töö sisu

Plaan on 10 mai alustada olemasoleva laudise ja nö verandakonstruktsioonide eemaldusega. Teostata see töö paari päevaga. Järgmiseks eemaldada olemasolevad aknad, ladustada need hoovis.

Seejärel uute aknaavade mõõtmine, täpse paigutuse kooskõlastamine omanikuga koos ja seejärel vajalikus osas olemasolevate aknaavade suuremaks lõikamine ja lisa toestamine prussidega väljast poolt (soojustuse poolt). Antud töölõik lepitakse kokku lisatööna.

NB! Välisseinte tööde ajal paigaldatakse katusekatet ning laudise paigalduse ajal avatäiteid. Need kaks tööd ei kuulu antud hanke hulka (v.a ajutine välisuks).

Akende-uste paigaldus on planeeritud ca 03-10 juuni, seejärel aknapalede ehitus ja akna- ja sokliplekkide paigaldus (need kuuluvad antud hankesse).

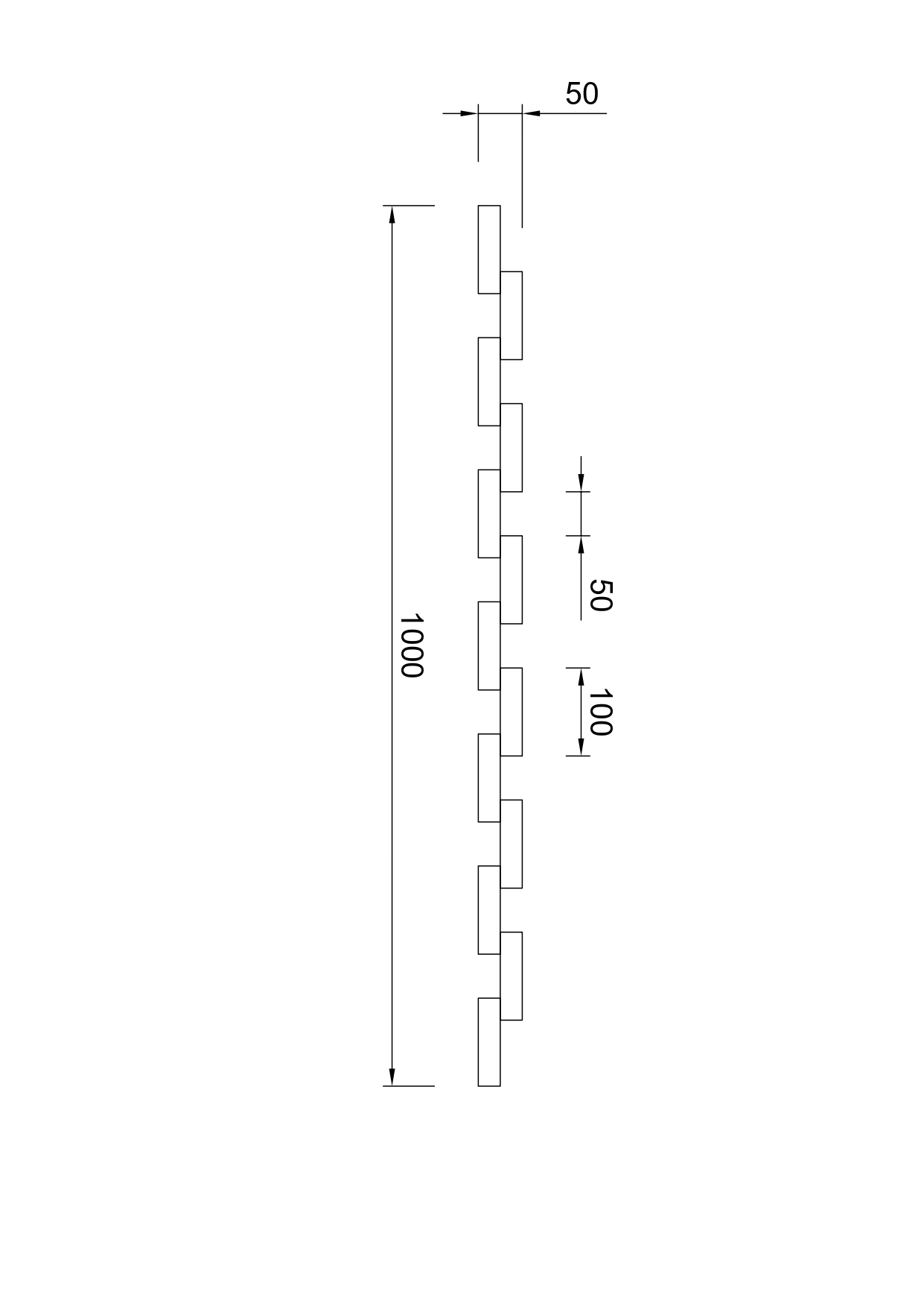
Välisvoodri tüüp on nn vertikaalne poola laudis (vt joonis).

Tööde mahud, materjalid:
vt tabel, lisatud.

Töötingimused:
Välisseinte tööde ajal saab tööruumina ja olmeruumina kasutada maja siseruume (katusel on katusekile selleks ajaks peal), maja on tühi. Olemas elekter 3x20, kaevuvesi. Ruum on olemas soovi korral haagise paigaldamiseks. naabrid on lähedal, üldisest liiklusest on asukoht eemal nö metsa sees.
Tallinnast ca 90 km, Kuusalust ca 50 km, Mustojal.

Võib paigaldada ka oma prahikonteineri.

Maksetingimused:
Ettepanek akteerida tööd tööliikide või nädala kaupa, maksetähtaeg 7 pv.

Materjalid:
vt tabel, lisatud.

Pildid, video ja failid

Hanke korraldaja: ettevõte ID72365

Pakkumised

Pakkumisi kokku: 2

Ettevõte Summa Käibemaks Lisatud Vestlus
Kasutaja ikoon ID65365
Pakkuja profiil Väike nool paremale
8 755€ Ei ole KMKR Ei ole KMKR 03.03.2024 Vestlus (1)

Pakkumise kirjeldus:

Hind sisaldab vana laudise eemaldust ,seinte rihtimist ,soojustamist ,tuuletõkke plaadi paigaldust ,distantsliistude paigaldust ja voodrilaua paigaldust .Akna ümbruste viimistlust ja vajadusel akna veeplekkide paigaldust .Hind ei sisalda materjali maksumust ,materjali hind tuleb lisaks ja selle lepime kokku koha peal ,maksmine tsekkide alusel vastavalt kok ... Rohkem

Kasutaja ikoon ID79365
Pakkuja profiil Väike nool paremale
12 350€ Ei ole KMKR Ei ole KMKR 07.03.2024 Vestlus (3)

Pakkumise kirjeldus:

Materjalid arvutatud ja telling kuulub hinna sisse

Küsimused hanke korraldajale

Küsimus: private ID18729   28.02.2024 07:39
Et tuulutus tekiks peab tuuletõkke peal olema topelt roovitus

Teavita reeglite rikkumisest

Korraldaja vastus: 28.02.2024 07:43

Aitäh kommentaari eest. Pakkumisi ootan praegu vastavalt kirjeldusele. Eks saab arutada hiljem muudatusideid.

Teavita reeglite rikkumisest

Küsimus: private ID79365   02.03.2024 18:08
Tere!
kas see 25'100 on ikka õige laudis? seda vist peab siis eritellimusel tegema

Teavita reeglite rikkumisest

Korraldaja vastus: 02.03.2024 18:37

Tere,
võite kasutada arvestuses ka endale sobilikku toodet, lisage lihtsalt kommentaar.
Lgp, KT

Teavita reeglite rikkumisest

Küsimus: private ID79365   07.03.2024 11:32
tere,
kui lai on sokliplekk? sellest sõltub hind väga palju, plekki müük on m2 alusel

Teavita reeglite rikkumisest

Korraldaja vastus: 07.03.2024 12:18

Tere, aitäh küsimast, arvan, et painutamata leht on ca 220mm.

Kristjan

Teavita reeglite rikkumisest

Lisa küsimus

Lisa küsimus

Minu pakkumine

Reeglid

Pakkumise kirjelduse väli on mõeldud pakkumise detailsemaks lahti kirjutamiseks. Pikema teksti mugavaks sisestamiseks klikkige kasti paremal ülaservas oleval ikoonil.
Pakkumist tehes on keelatud postitada enda kontaktandmeid (nimi, telefon, aadress jne). Me jälgime ja analüüsime pakkumisi, et vältida pettuseid ja reeglite rikkumisi.
Rikkumise puhul kasutajakonto blokeeritakse.

 

Teisi töid samas valdkonnas

Valdkonnas "Fassaaditööd" on 12 aktiivset tööd

Akende ja viilude parandus ja värvimine

Asukoht: Valgamaa, Valga
Aega jäänud: 21h 46 min
Tehtud pakkumisi: 3

Eramaja vintskapide laudise paigaldus

Asukoht: Pärnumaa, Pärnu-Jaagupi
Aega jäänud: 9p 21h
Tehtud pakkumisi: 2

Vanemad teated:

Vaata kõiki

Sellel veebilehel kasutatakse küpsiseid. Kasutamist jätkates nõustute küpsiste kasutamisega.

Sulge
 
Minu pakkumine

Reeglid

Pakkumise kirjelduse väli on mõeldud pakkumise detailsemaks lahti kirjutamiseks. Pikema teksti mugavaks sisestamiseks klikkige kasti paremal ülaservas oleval ikoonil.
Pakkumist tehes on keelatud postitada enda kontaktandmeid (nimi, telefon, aadress jne). Me jälgime ja analüüsime pakkumisi, et vältida pettuseid ja reeglite rikkumisi.
Rikkumise puhul kasutajakonto blokeeritakse.