+ Lisa oma töö      

Otsid ehitajat "Fassaaditööd" valdkonnast?

Parima pakkumise ja teostaja leidmiseks lisa oma töö.

Eramaja fassaadi soojustamine ja krohvimine

ID 85032

1106 vaatamist

Prindi

  • check Pakkumiste tegemine
    kuni 06.09.2023
  • check Võitja valik kuni
    13.09.2023
  • 3 Töö teostamine
    ja hinnang
Hanke lõpp: K, 6. september, 2023
Maakond: Harjumaa
Tööde algus: E, 11. september, 2023 (Soovituslik)
Tööde lõpp: P, 15. oktoober, 2023 (Soovituslik)
Ehitusmaterjalid: Töö tegija poolt
Soovin pakkumisi: Summa kogu projektile

Töö sisu

Tere
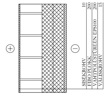
Pakutavaks tööks on ehitusjärgus eramu soojustamine ja krohvimine. Maja on osaliselt ühe- ja osaliselt kahekordne, seinad Fibost. Fassaadi pind uste ja akendeta ca 280 m2.

Projekti järgi on soojustuskihiks ette nähtud penoplast 200mm ja viimistluseks oliivroheline fassaadikrohv ~15mm. Avade ümber tulevad fassaadikrohvi peale karniisid (vt joonist). Sokliosa krohvida ei ole vaja, see saab eelnevalt kiviga viimisteletud.

Pakkumises märkida summa kogukulu osas (töö+materjalid). Pakkumuse kirjelduse osas tuua kuluread (tööraha, materjalid jm) eraldi välja. Tellingutega pakkumuses arvestama ei pea, nende tellimise ja arveldamise osas lepime kokku eraldi, v.a kui teil endal ei juhtu tellinguid olema.

Tööde märgitud algusaeg on indikatiivne ja selle lepime eraldi kokku, kuid sooviks on, et saaks enne talve tehtud.

Asukoht Harjumaa, Kuusalu vald, 40 km kesklinnast.

Pildid, video ja failid

Hanke korraldaja: eraisik ID26211

Pakkumised

Pakkumisi kokku: 7

Ettevõte Summa Käibemaks Lisatud Vestlus
Kasutaja ikoon ID62677
Pakkuja profiil Väike nool paremale
37 000€ Sisaldab KM Sisaldab KM 25.08.2023 Vestlus (1)
Kasutaja ikoon ID75607
Pakkuja profiil Väike nool paremale
35 000€ KM lisandub KM lisandub 25.08.2023 Vestlus (2)
Kasutaja ikoon ID70223
Pakkuja profiil Väike nool paremale
35 000€ KM lisandub KM lisandub 06.09.2023 Vestlus (0)

Pakkumise kirjeldus:

Hinnapakkumine sisaldab soojustamist, armeerimist, krohvimist ning karniiside ehitamist akende ümber. Materjal hinna sees. Alustada saan septembri teises pooles ja aega läheks ca 2 kuud. Parimat!

Kasutaja ikoon ID50979
Pakkuja profiil Väike nool paremale
33 000€ Ei ole KMKR Ei ole KMKR 06.09.2023 Vestlus (24)

Pakkumise kirjeldus:

Tere.Pakkumine sisaldab
1.Tellingute montaazi
2.200mm.EPS paigaldus
3.Armeerimine võrguga ja profiilide paigaldus
4.Lisasarruse kiht
5.Kruntimine
6.Krohvimine Ceresit CT174 1,5mm.teraga Teie poolt soovitud tooni
7Tellingute demontaaz
8.Kuivkoristus ja ehitusjäätmete utiliseerimine
Pakkumine ei sisalda tellinguid ega transporti,sokli ja karniiside ... Rohkem

Kasutaja ikoon ID52737
Pakkuja profiil Väike nool paremale
31 000€ KM lisandub KM lisandub 06.09.2023 Vestlus (2)

Pakkumise kirjeldus:

Tervist
Hinnapakkumine on koostatud vastavalt hankes kirjeldatud tööde ja mahtude põhjal.
Hind sisaldab kõiki töid välja arvatud sokli ehitust. Töödeks kasutame parimaid turul olevaid tooteid. Töid teostavad oma ala profesionaalid. Vestluses seletan teile detailselt meie pakkumise lahti !

Parimat,
Oliver

Kasutaja ikoon ID26118
Pakkuja profiil Väike nool paremale
32 900€ KM lisandub KM lisandub 06.09.2023 Vestlus (0)

Pakkumise kirjeldus:

Tere! pakkumine sisaldab Tellingute transporti, paigaldust
(Tellingud on meil omal olemas)
Eps60 200mm liimimine +tüübeldamine seinte armeerimine võrguga, kruntimine
krohvimine Kreisel Nano krohv 1,5mm Akende ümber karniiside liimimine ja krohvimine.
Lugupidamisega,

Kasutaja ikoon ID73479
Pakkuja profiil Väike nool paremale
40 000€ Sisaldab KM Sisaldab KM 06.09.2023 Vestlus (0)

Pakkumise kirjeldus:

Tere,

Hea meelega teostame tööd teie jaoks.tööd tehakse kvaliteetselt ja võimalikult kiiresti.Pakume 5 aastane garantii oma töödele.

See hind sisaldab kõiki nimekirjas olevaid soovitud tööd.
Spetsialisti tulek teie objektile, hinnapakkumise ja tööteostamise lepingu koostamine.

Minu firma tegeleb katuste, fassaadide ehitusega ning üldeh ... Rohkem

Küsimused hanke korraldajale

Küsimus: private ID52737   30.08.2023 09:29
Tere,
Kuidas seinad laotud on ?
Kas soovite fassaadi soojustuseks Eps 60 Silver 200mm ?
Soklile kivi paigaldus võiks jääda peale fassaadi soojustus- ja krohvitöid.

Lugupidamisega

Teavita reeglite rikkumisest

Korraldaja vastus: 30.08.2023 11:05

Tere
Seinad on Fibost ja peaks olema suht sirgelt laotud. Ilmselt natuke rohkem nokitsemist on betoonist vahevöö kohtades, kuna see pole mõnes kohas sienaga ideaalselt tasapindne.
EPS-is osas mul projektis täpsustatud pole. See arvestage tuginedes omapoolsele kogemusele, kuna seda paistab teil olevat ;-) Vundamendi osas on tavaline mitte Silver.

Minu poolest võib sele kivi paigaldada ka hiljem, kuid küsimus oleks, et miks ja kuidas veenina läheks, mis peaks osaliselt minema soojustuse alla? Või olete selle ka valmis hiljem ise ära tegema?
Ootan pakkumist.

Tervitades

Teavita reeglite rikkumisest

Küsimus: private ID52737   30.08.2023 13:38
Tere,

Ok, kui seinad on hästi laotud siis peaks saama soojustust paigaldada liimvahu või kammiga.
Meil on olemas penoplasti lõikur ja kuum nuga kõikide nikerduste jaoks.
Millist fassaadikivi te soklile paigaldada tahate ?
Mitmene soojustus on sokli osas ?
Veenina ( EJOT Praktika) paneme tavaliselt sokli ja fassaadi soojustuse vahele siis jääb kõige väiksem külmasild.
Nüüd kõik olenebki millist kivi te soklile soovite ja selle toote paigaldusviis+ sokli soojustuse enda paksus.


Lugupidamisega

Teavita reeglite rikkumisest

Korraldaja vastus: 30.08.2023 13:49

Tere

Kirjelduses jäigi täpsustamata, et proejtkti järgi on need avade ümbruste karniisid XPS-ist. Ilmselt lõigata saab neid samamaoodi kui vaja.
Vahuga peaks saama ilusasti paigaldada, sokli osas sai seda tehtud.
Soklil on 150-ne soojustus, 10 õhuvahe ja siis 90se laiusega kivi. Soklisse tuleb dolokivi, ladudes, mis sesisab eraldi alusel, st maja vundamendi osa on kivi-soojustus-välimine kitsam kivi. Fassaadi soojustus peaks seega tulema pmst 50 mm veenina peale. Natuke sõltub, kui täpselt vundament, seinad ja sokkel omavahel lõpuks kokku jooksevad.

Teavita reeglite rikkumisest

Küsimus: private ID52737   31.08.2023 10:29
Tere

Neid karniise akendele saab teha mitut eri moodi eks see selgub hiljem. Kas karniisid tulevad majaga sama tooni ?
Mind paneb veidi mõtlema, et kui seina läheb 200mm EPS ja soklil on 150mm + distantsliist siis mis paksusega on see dolokivi ?

Lugupidamisega

Teavita reeglite rikkumisest

Korraldaja vastus: 31.08.2023 10:38

Tere

Maja roheline, karniisid valged. Projekti järgi peaks need tulema seina krohvikivi peale. Kuidas lõpuks teha saab eraldi läbi arutada, kuidas on mõistlikum ja parem.

Soklikivi on 90-ne. Ehk üleval on peno 200+krohv15 ja all peno 150+õhuvahe10+veenina 100 (kivi selle all on laiusega 90). Sokliosa jääb lõpuks mõnevõrra kaugemale kui krohvitud sein.

Teavita reeglite rikkumisest

Küsimus: private ID52737   31.08.2023 10:47
Tere

Selge pilt. Siis on vaja sokli osa ennem teha. Koostame pakkumise fassaadi töödele mis on hankes kirjeldatud.

Lugupidamisega

Teavita reeglite rikkumisest

Korraldaja vastus: 31.08.2023 11:03

Tere

Hästi, aitäh.

Tervitades

Teavita reeglite rikkumisest

Lisa küsimus

Lisa küsimus

Minu pakkumine

Reeglid

Pakkumise kirjelduse väli on mõeldud pakkumise detailsemaks lahti kirjutamiseks. Pikema teksti mugavaks sisestamiseks klikkige kasti paremal ülaservas oleval ikoonil.
Pakkumist tehes on keelatud postitada enda kontaktandmeid (nimi, telefon, aadress jne). Me jälgime ja analüüsime pakkumisi, et vältida pettuseid ja reeglite rikkumisi.
Rikkumise puhul kasutajakonto blokeeritakse.

 

Teisi töid samas valdkonnas

Valdkonnas "Fassaaditööd" on 18 aktiivset tööd

Puitmaja fassaadi värvimine

Asukoht: Harjumaa, Lähtse
Aega jäänud: 2p 11h
Tehtud pakkumisi: 4

Vanemad teated:

Vaata kõiki

Sellel veebilehel kasutatakse küpsiseid. Kasutamist jätkates nõustute küpsiste kasutamisega.

Sulge
 
Minu pakkumine

Reeglid

Pakkumise kirjelduse väli on mõeldud pakkumise detailsemaks lahti kirjutamiseks. Pikema teksti mugavaks sisestamiseks klikkige kasti paremal ülaservas oleval ikoonil.
Pakkumist tehes on keelatud postitada enda kontaktandmeid (nimi, telefon, aadress jne). Me jälgime ja analüüsime pakkumisi, et vältida pettuseid ja reeglite rikkumisi.
Rikkumise puhul kasutajakonto blokeeritakse.