+ Lisa oma töö      

Otsid ehitajat "Vannitubade remont" valdkonnast?

Parima pakkumise ja teostaja leidmiseks lisa oma töö.

Korteri vannitoa (3,8 m2) renoveerimine

ID 76252

654 vaatamist

Prindi

  • check Pakkumiste tegemine
    kuni 29.09.2022
  • check Võitja valik kuni
    06.10.2022
  • 3 Töö teostamine
    ja hinnang
Hanke lõpp: N, 29. september, 2022
Maakond: Tartumaa
Linn: Tartu
Tööde algus: E, 26. september, 2022 (Soovituslik)
Tööde lõpp: R, 21. oktoober, 2022 (Soovituslik)
Ehitusmaterjalid: Töö tegija poolt
Soovin pakkumisi: Summa kogu projektile

Töö sisu

Palun pakkumist vannitoa remondiks Tartus Karlovas.

Vannitoas on madalamale toodud kipslagi (kõrgus 2,3 m), aga sinna pole tehtud niiskusetõket, mistõttu lae peal on nüüd hallitus. Lagi tuleb eemaldada, teostada hallituse tõrje ning teha niiskustõke. Seejärel paigaldada samale kõrgusele uus ripplagi (selline, kus on üksikult eemaldatavad plaadid).

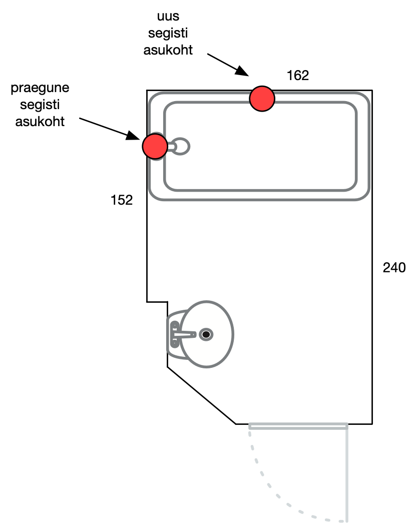
Kortermaja renoveerimise osana teostatud torutööde käigus on ära lõhutud hulk seinaplaate, mida ei saa kahjuks asendada. Seega soovin kogu seina (15,7 m2) uuesti plaatida. Praegu on kipsseinad metallkarkassil. Karkassi võiks alles jätta ja selle seest (st kipsi tagant) peaks liigutama vanni segisti kõrvalseina (vt skeemi). Vajadusel tuleb ka seinale teha niiskustõke.

Lisaks sooviks asendada põrandaplaadid.

Tellija poolt on sisustus (segistid, valamu), põranda- ja seinaplaadid. Muud materjalid arvestada töö tegijal.

Pildid, video ja failid

Hanke korraldaja: eraisik ID71074

Pakkumised

Pakkumisi kokku: 2

Ettevõte Summa Käibemaks Lisatud Vestlus
Kasutaja ikoon ID71189
Pakkuja profiil Väike nool paremale
2 614€ KM lisandub KM lisandub 25.09.2022 Vestlus (3)

Pakkumise kirjeldus:

Tere,
Pakkumine sisaldab kõiki töö sisus kirjeldatud töid ja tööde teostamiseks vaja minevaid materjale.
Töö tellija poolt on sanitaartehnika, põranda ja seinaplaadid. PS. Kui seina karkassi ei õnnestu säilitada, jääb karkassi maksumus tellija kanda
Parimate soovidega,

Kasutaja ikoon ID49704
Pakkuja profiil Väike nool paremale
3 000€ Ei ole KMKR Ei ole KMKR 28.09.2022 Vestlus (3)

Pakkumise kirjeldus:

Tere,

Pakkumine vastavalt hankes kirjeldatule. Täpne tööde loetelu ja võimalik hinnapakkumise muutus peale objektiga tutvumist, hetkel veidi raske prognoosida, palju tuleb lõhkuda/ehitada uut seinakarkassi.

Lugupidamisega
Priit

Küsimused hanke korraldajale

Küsimus: private ID71189   22.09.2022 14:40
Tere, Mõned ennetavad küsimused: Mitmendal korrusel korter asub? Kas maja juures on võimalik parkida?
Parimat,

Teavita reeglite rikkumisest

Korraldaja vastus: 22.09.2022 15:56

Kortermajas on poolkorrused, aga trepiastmete mõttes on tegemist 3. korrusega. Maja ees saab parkida.

Teavita reeglite rikkumisest

Küsimus: private ID71189   24.09.2022 13:41
Tere,
Kas hallitus on tekkinud kipsplaadile, teistele värvitud pindadele, või on kahjustatud ka puitkonstruktsioonid?

Teavita reeglite rikkumisest

Korraldaja vastus: 24.09.2022 23:14

Vannitoas on hetkel madalamale toodud kipslagi. Hallitus tuli ilmsiks, kui kipslae kohale puuriti korteri välisseina uued ventilatsiooniaugud ja selleks tuli lakke auk sisse teha. Hallitus on kipslae taga, st kivist originaallael ja kiviseintel, mis jäävad kipslaest ülespoole. Kipslael endal pole hallitust näha, aga see pole ka oluline, sest see lagi tuleb niikuinii ära võtta, muidu ei pääse kivilaele ligi, et hallitust eemaldada.
Loodan, et kipsseinte taga pole hallitust, aga kahjuks ei tea seda kindlalt enne kui plaadid ja kips seinast ära võtta.
Värvitud pindadel pole hallitust näha (st see pole tulnud läbi kipslae) ja puitkonstruktsioone pole.

Teavita reeglite rikkumisest

Lisa küsimus

Lisa küsimus

Minu pakkumine

Reeglid

Pakkumise kirjelduse väli on mõeldud pakkumise detailsemaks lahti kirjutamiseks. Pikema teksti mugavaks sisestamiseks klikkige kasti paremal ülaservas oleval ikoonil.
Pakkumist tehes on keelatud postitada enda kontaktandmeid (nimi, telefon, aadress jne). Me jälgime ja analüüsime pakkumisi, et vältida pettuseid ja reeglite rikkumisi.
Rikkumise puhul kasutajakonto blokeeritakse.

 

Teisi töid samas valdkonnas

Valdkonnas "Vannitubade remont" on 3 aktiivset tööd

Vannitoa ja Wc kapitaalremont

Asukoht: Harjumaa, Tallinn
Aega jäänud: 1p 12h
Tehtud pakkumisi: 4

Vannitoa ehitamine

Asukoht: Harjumaa, Tallinn
Aega jäänud: 15p 12h
Tehtud pakkumisi: 4

Vanemad teated:

Vaata kõiki

Sellel veebilehel kasutatakse küpsiseid. Kasutamist jätkates nõustute küpsiste kasutamisega.

Sulge
 
Minu pakkumine

Reeglid

Pakkumise kirjelduse väli on mõeldud pakkumise detailsemaks lahti kirjutamiseks. Pikema teksti mugavaks sisestamiseks klikkige kasti paremal ülaservas oleval ikoonil.
Pakkumist tehes on keelatud postitada enda kontaktandmeid (nimi, telefon, aadress jne). Me jälgime ja analüüsime pakkumisi, et vältida pettuseid ja reeglite rikkumisi.
Rikkumise puhul kasutajakonto blokeeritakse.